Vorbestellung für Triebwagenanhänger passend zum MZZ T02

Wo finde ich Teile oder Modelle zum Selbstbau? Neues im Handel, Einkaufstipps

Moderator: Regalbahner

ich möchte gerne einen Bausatz vormerken

verbindlich
4
21%
unverbindlich,da der Preis nicht unwichtig ist
9
47%
weiß noch nict.. erst wenn ich das Urmodell in Schkeuditz gesehen habe
6
32%
 
Insgesamt abgegebene Stimmen: 19

Feldbahn-Alex
Buntbahner
Buntbahner
Beiträge: 774
Registriert: Mo 5. Mai 2003, 09:59
Wohnort: Nun auch auf dem Abstellgleis

Vorbestellung für Triebwagenanhänger passend zum MZZ T02

Beitrag von Feldbahn-Alex »

Moin!

An anderer Stelle hatte ich ja ja vor längerer Zeit schon mal angefangen....
phpBB2/viewtopic.php?p=231373&highlight ... she#231373


Inzwischen sind die Zeichnungen jedoch so weit gediehen, dass die erste Probelaserung noch vor Ostern in Auftrag gehen kann :wink:

Harzwagen3 (Feldbahn-Alex)
Bild
Vorlage Hermann Grenzel

fast fertige Bauteile (Feldbahn-Alex)
Bild

Obige Teilesind nicht ganz vollständig und auch noch nicht 100% richtig, aber ihr könnt so wenigstens sehen,aus was für Bauteilen der Bausatz bestehen wird.

Geplant ist ein Sandwich-Aufbau, bestehend aus dem bewährtem Acrylglas, darauf der eigentliche Wagenkasten in 1,5mm Kunststoff. Innenverkleidung Holz, Fensterrahmen usw 0,8mm Kunststoff. der Bausatz soll sowohl den Wagenkasten als auch den Rahmen und die Drehgestelle enthalten. letztere muss ich in Kunststoff und VA mal austesten lassen... Selbst zukaufen müsstet Ihr Achsen, Puffer und die üblichen individuell gewünschten Zurüstteile, 8x Achslager der LGB-US-Trucks und etwas MS-Stangen/Profile.


Diesen Wagen lasse ich nur als Einmalserie beim Harald laufen, er wird danach nicht wieder aufgelegt!, da danach andere SHE-Wagen folgen werden :lol: Zum Preis kann ich natürlich derzeit noch nix sagen, den weiß ich erst,wenn das Muster gelasert wurde.

Ich würde gerne alle Interessenten bitten , hier kurz bei Interesse sich einzutragen, da ich dann ggf. die Baugruppen rationeller auf den Platten verteilen könnte und so eine vorausichtliche Anzahl planbar ist und die Kosten minimiert werden können.
Gruß
Alexander
Feldbahn-Alex
Buntbahner
Buntbahner
Beiträge: 774
Registriert: Mo 5. Mai 2003, 09:59
Wohnort: Nun auch auf dem Abstellgleis

Re: Vorbestellung für Triebwagenanhänger passend zum MZZ T02

Beitrag von Feldbahn-Alex »

Moin!

Ich benötige dringend Eure Hilfe!

Nicht bei den Corel-Dateien, da fehlen "nur" noch 3 Kleinteile,der Rest ist fertig...

Ich plane ja gerade an der Umsetzung der SHE-Wagen 1,3, 15 und 51 herum. Ersterer war als Triebwagenbeiwagen rot/elfenbeinfarben lackiert und wurde 1952 bei seiner Modernisierung der Innenausstattung rot lackiert, passend zum T02.

Hat jemand von Euch Archivmaterial, aus dem man evtl. schließen kann, wann die anderen Wagen ca. umlackiert wurden bzw. wie wohl die Packpostwagen lackiert waren. Interessant wäre auch ein ca. Jahr der Umlackierung des T07.

Gruß
Alex
Gruß
Alexander
Benutzeravatar
Floedo
Buntbahner
Buntbahner
Beiträge: 209
Registriert: Mo 29. Sep 2003, 10:03
Wohnort: Metropolregion Hamburg

Re: Vorbestellung für Triebwagenanhänger passend zum MZZ T02

Beitrag von Floedo »

Hallo Alexander,

abhängig vom Preis bin ich mit 1 - 2 Bausätzen gern dabei.

Gruss

Andreas :D
Gordon Shamway
Buntbahner
Buntbahner
Beiträge: 121
Registriert: Sa 29. Apr 2006, 20:27

Re: Vorbestellung für Triebwagenanhänger passend zum MZZ T02

Beitrag von Gordon Shamway »

Hallo Alexander,
prinzipiell bin ich an einem Bausatz interessirt. Es wäre schon nicht schlecht wenn ich eine Hausnummer hätte. Ich hab da nämlich keine Ahnung was da finanziell auf mich zukommt. Über eine kurze Mitteilung würde ich mich sehr freuen.

Viele Grüße
Detlef Schumann
Feldbahn-Alex
Buntbahner
Buntbahner
Beiträge: 774
Registriert: Mo 5. Mai 2003, 09:59
Wohnort: Nun auch auf dem Abstellgleis

Re: Vorbestellung für Triebwagenanhänger passend zum MZZ T02

Beitrag von Feldbahn-Alex »

Hallo,

zum Preis kann ich derzeit noch nix sagen :!:

Aufgeteilt ist der Bausatz in Wagenkasten, Innenverkleidung sowie Fahrgestell, dann kann jeder entscheiden, was er haben will!!!
Gruß
Alexander
Gordon Shamway
Buntbahner
Buntbahner
Beiträge: 121
Registriert: Sa 29. Apr 2006, 20:27

Re: Vorbestellung für Triebwagenanhänger passend zum MZZ T02

Beitrag von Gordon Shamway »

Hallo Alexander,
also wenn schon dan nehme ich das komplett, sonst renne ich dann auch wieder nach den fehlenden Bauteilen rum. Du kannst mich mal unverbindlich,mit einem Bausatz, mit auf Deine Liste setzen.Wenn Du das noch mal per Mail brauchst, nur kurz Bescheid geben.

Viele Grüße
Detlef Schumann
Feldbahn-Alex
Buntbahner
Buntbahner
Beiträge: 774
Registriert: Mo 5. Mai 2003, 09:59
Wohnort: Nun auch auf dem Abstellgleis

Re: Vorbestellung für Triebwagenanhänger passend zum MZZ T02

Beitrag von Feldbahn-Alex »

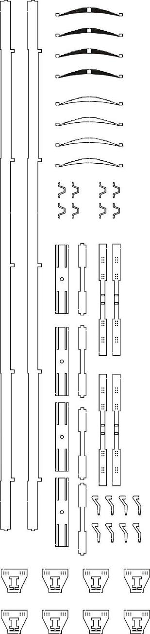
Hier mal eine kleine Vorschau... fehlen nur noch die 3 Kleinteile... :wink:

Die Anlagen sind zwar etwas schlecht sichtbar, aber ich wollte nicht extra die dateien abändern 8) :lol:
Dateianhänge
Bauteile Fahrgestell 1,5mm.jpg
Bauteile Wagenkasten 0,8mm.jpg
Bauteile Fahrgestell 0,8mm.jpg
Bauteile Wagenkasten 1,5mm.jpg
Bauteile Wagenkasten Holz 1mm.jpg
Bauteile Wagenkasten Plexiglas 1,8mm.jpg
Gruß
Alexander
Benutzeravatar
Regalbahner
Site Admin
Beiträge: 4434
Registriert: Sa 31. Jul 2004, 22:17
Wohnort: ehemaliger Müritzkreis

Re: Vorbestellung für Triebwagenanhänger passend zum MZZ T02

Beitrag von Regalbahner »

Hallo Alex

kannst du von deinen Dateien nicht wenigstens ein Bildschirmfoto machen ,
denn auch mit größerem Aufwand konnte ich da nichts Wesentliches sichtbar machen , die Linien sind einfach zu dünn :cry:
Schade :!:

Tschau Christoph
geht nicht gibt's nicht

meine Videos

Bild
Feldbahn-Alex
Buntbahner
Buntbahner
Beiträge: 774
Registriert: Mo 5. Mai 2003, 09:59
Wohnort: Nun auch auf dem Abstellgleis

Re: Vorbestellung für Triebwagenanhänger passend zum MZZ T02

Beitrag von Feldbahn-Alex »

OK OK :lol:

Hab extra für Euch mal die Strichstärke geändert
Dateianhänge
Bauteile Wagenkasten Plexiglas 1,8mm.jpg
Bauteile Wagenkasten Holz 1mm.jpg
Bauteile Wagenkasten 1,5mm.jpg
Bauteile Wagenkasten 0,8mm.jpg
Bauteile Fahrgestell 0,8mm.jpg
Bauteile Fahrgestell 1,5mm.jpg
Gruß
Alexander
Benutzeravatar
Regalbahner
Site Admin
Beiträge: 4434
Registriert: Sa 31. Jul 2004, 22:17
Wohnort: ehemaliger Müritzkreis

Re: Vorbestellung für Triebwagenanhänger passend zum MZZ T02

Beitrag von Regalbahner »

Moin Alex ,

na jetzt schaut das schon besser aus :D
Hast du schon mal einen Probezusammenbau gemacht oder Prototypen gebaut :?:

Tschau Christoph
geht nicht gibt's nicht

meine Videos

Bild
Antworten